


Пончо в этно-стиле
РАЗМЕРЫ
36/42 (44/48)
ВАМ ПОТРЕБУЕТСЯ
Пряжа (40% вискозы, 30% хлопка, 20% льна, 10% полиамида; 125 м/50 г) — 400 (500) г абрикосовой, по 100 (150) г цвета корицы и темно-красной; круговые спицы №4,5 длиной 60 и 100 см.
УЗОРЫ И СХЕМЫ
ЛИЦЕВАЯ ГЛАДЬ
Лицевые ряды — лицевые петли, изнаночные ряды — изнаночные петли. В круговых рядах все петли провязывать лицевыми.
ПЛАТОЧНАЯ ВЯЗКА
Платочная вязка: лицевые и изнаночные ряды — лицевые петли. При круговом вязании провязать попеременно 1 ряд лицевыми, 1 ряд изнаночными.
ПОСЛЕДОВАТЕЛЬНОСТЬ ПОЛОС
11 р. абрикосовых,
4 р. цвета корицы,
4 р. абрикосовых,
4 р. темно-красных,
* 12 р. абрикосовых,
4 р. цвета корицы,
4 р. абрикосовых,
4 р. темно-красных,
от * повторять,
закончить 12 р. абрикосовой нитью.
ВОЛНИСТЫЙ УЗОР
4 р. платочной вязки,
* 3 р. по приведенной схеме,
5 р. платочной вязки,
от * повторять,
закончить 3 р. по схеме и 4 р. платочной вязки.
ПЛОТНОСТЬ ВЯЗАНИЯ
21 п. х 28 р. = 10 х 10 см, связано лицевой гладью спицами №4,5.
ВНИМАНИЕ!
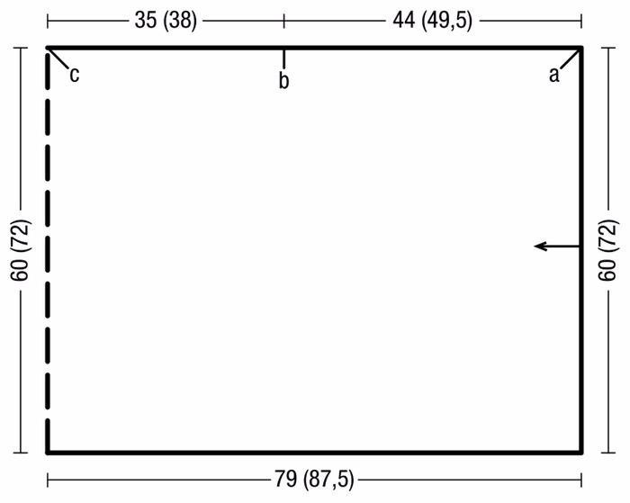
Изделие вяжется в поперечном направлении. Стрелкой на чертеже деталей выкройки обозначено направление вязания.
ВЫПОЛНЕНИЕ РАБОТЫ
Нитью абрикосового цвета набрать 127 (152) п. и вязать волнистым узором полосы в указанной последовательности.
Через 158 (175) см = 443 (491) р. от наборного ряда все петли закрыть в одном ряду.
СБОРКА
Выполнить шов от а до b, участок между b и с (= до линии сгиба) оставить для горловины открытым.
По краю горловины набрать для планки нитью абрикосового цвета 128 (140) п., ряд замкнуть и вязать по кругу: 1 р. изнаночными, 1 р. лицевыми, 1 р. изнаночными, затем петли закрыть.
По нижнему краю изделия набрать нитью абрикосового цвета 222 (246) п., выполнить 3 р. платочной вязкой и петли закрыть.